Гільза / VOLVO LKW 104.775 TD71F/FD/FQ/FS/FSQ GOETZE 14-459050-00
|
2 263 ₴
завтра
|
- Виробник
-
GOETZE
(Німеччина)
- Каталоговий номер
- 14-459050-00
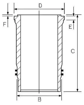
- Діаметр циліндра [мм]
- 104.775
- Довжина [мм]
- 259.450
- Висота пожежного містка [мм]
- 3.590
- Ширина (мм)
- 9.660
- Зовнішній діаметр [мм]
- 116.964
- ∅ фланця [мм]
- 1270
- Обробка
- хонінгований
- Додатковий артикул / додаткова інформація 2
- волога гільза циліндра
- Циліндр
- без кільця втулки
Застосовність
- Товарна група:
- - Двигун і Система вихлопу Гільза циліндра
