Гільза / MB LKW 130.0 OM501LA/OM502LA (БЛОК С ОТВ. ОХЛ./ ГИЛЬЗА С ПАЗОМ ОХ KOLBENSCHMIDT 89 878 110
- Виробник
-
KOLBENSCHMIDT
(Німеччина)
- Каталоговий номер
- 89 878 110
- Застарілий номер
- 89530110
- Стандартний розмір [стд.]
- Номер компонента
- 50006666
- Кількість
- 1
- Додатковий артикул / додаткова інформація 2
- волога гільза циліндра
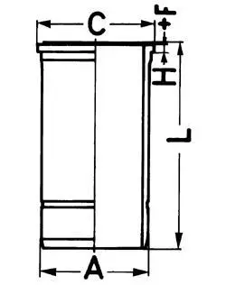
- Зовнішній діаметр [мм]
- 150
- Внутрішній діаметр
- 130
- Довжина [мм]
- 258
- Ширина (мм)
- 10.12
- ∅ фланця [мм]
- 164.1
- Висота пожежного містка [мм]
- 1.1
- Номер технічної інформації
- PI 1396
- EAN
- 4028977699269
Застосовність
- Товарна група:
- - Двигун і Система вихлопу Гільза циліндра
Комплекти в яких міститься "89 878 110 KOLBENSCHMIDT":
Аналоги "89 878 110 KOLBENSCHMIDT":
5 180 ₴
термін 7 дн.
- Артикул:
- 003 WN 38 01
- MAHLE / KNECHT
-
Німеччина
∅ фланця [мм]: 164.1
Довжина [мм]: 258
Ширина (мм): 10.12
Діаметр циліндра [мм]: 130
Зовнішній діаметр [мм]: 150.01
Висота пожежного містка [мм]: 1.1
Додатковий артикул / додаткова інформація 2: з ущільнюючим кільцем, з охолоджуючим каналом, волога гільза циліндра
Циліндр: без кільця втулки
Обробка: необроблений
Довжина [мм]: 258
Ширина (мм): 10.12
Діаметр циліндра [мм]: 130
Зовнішній діаметр [мм]: 150.01
Висота пожежного містка [мм]: 1.1
Додатковий артикул / додаткова інформація 2: з ущільнюючим кільцем, з охолоджуючим каналом, волога гільза циліндра
Циліндр: без кільця втулки
Обробка: необроблений
